

2023-06-02 10:13|编辑: 于老师|阅读: 26336
摘要
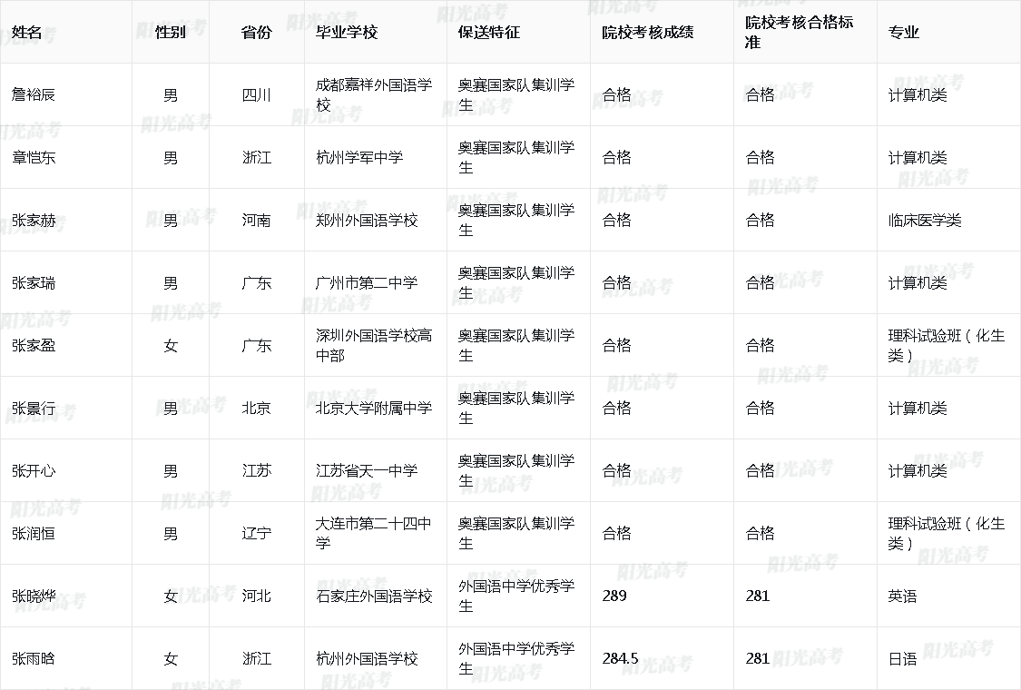
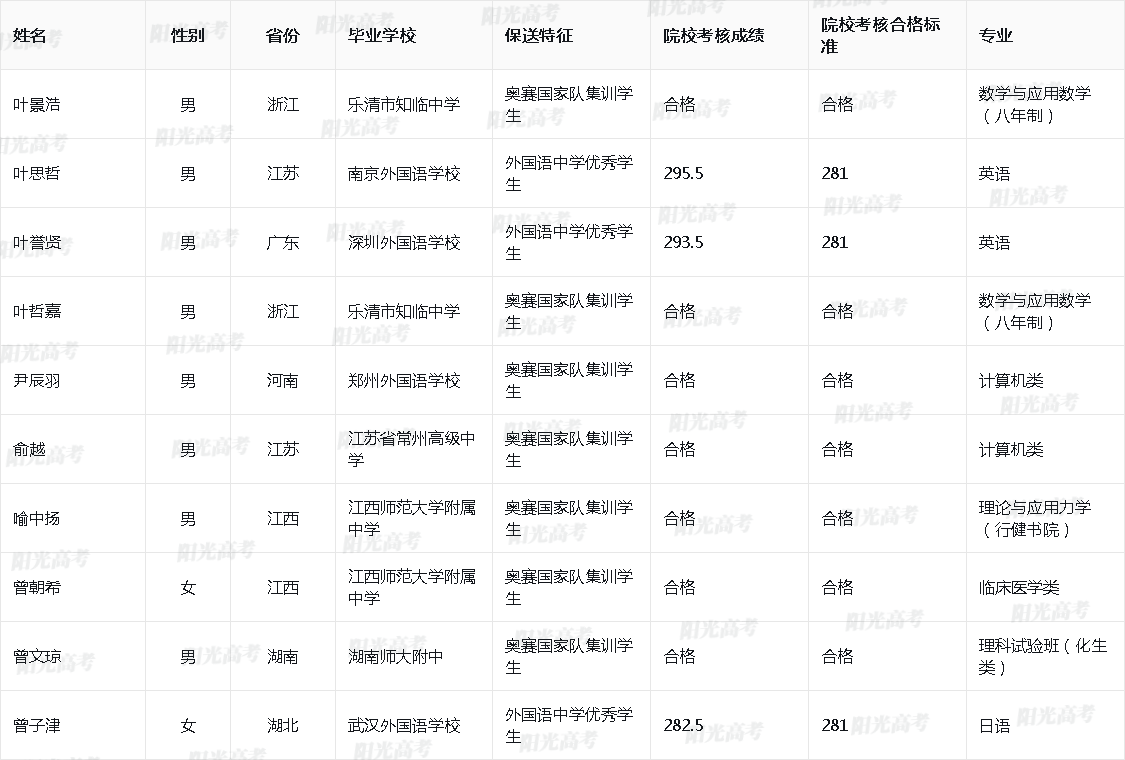
清华大学2023年保送生拟录取名单已公布,本次共有160人入选,为方便大家查看,自主选拔在线团队整理了清华大学2023年保送生拟录取名单,供大家参考!
0
收藏
微信扫一扫分享
微信里点“发现”
扫一下二维码便可将本文分享至朋友圈
上一篇:华东师范大学2023年保送生拟录取名单
下一篇:上海外国语大学2023年保生拟录取名单
清华北大等高校2023年保送生拟录取名单汇总2023-06-02
没有更多了
2026强基计划报考指南
2026强基计划招生政策
2026强基计划备考
2026强基计划

强基备考

综评备考

选科指导

优质试题

热门资料

竞赛经验

热门讲座

升学规划

查分数线
扫码关注,回复关键词“2026”,领取升学福利

自主选拔在线
zizzsw 复制