天津市2025年中学生物理竞赛复赛的获奖名单已隆重公布,天津市第一中学在此次物理学科竞赛中表现卓越,脱颖而出。现在,学校为大家带来天津一中在2025年第42届全国中学生物理竞赛中取得的喜人成绩。究竟哪些同学荣耀获奖呢?让学校一同揭晓
推荐查看:2025年第42届中学生物理竞赛复赛通知、试题及获奖名单汇总
资料免费下载啦:名称
①为帮助低年级考生高效备考,特整理《从0到1物理竞赛备考攻略手册》电子资料
领取链接:https://www.zizzs.com/form?xyppid=577836873850819593
②《近10年物理竞赛决赛试题及答案》PDF免费领取啦:
天津一中第42届全国中学生物理竞赛喜报
天津一中在第42届全国中学生物理学科竞赛(复赛)天津赛区的比赛中取得优异成绩。

荣获省级一等奖同学名单

亲爱的同学们,大家今日取得的优异成绩,不仅凝聚了智慧与汗水,见证了坚持与努力,更彰显了学校心怀科技报国理想的少年壮志。在此,向所有获奖同学致以最热烈的祝贺!同时,衷心感谢一路陪伴指导的教师们和学长们、默默支持的家长们,以及给予专业引领的各高校的教授专家们,谨向各位致以最诚挚的感谢,您们辛苦了!
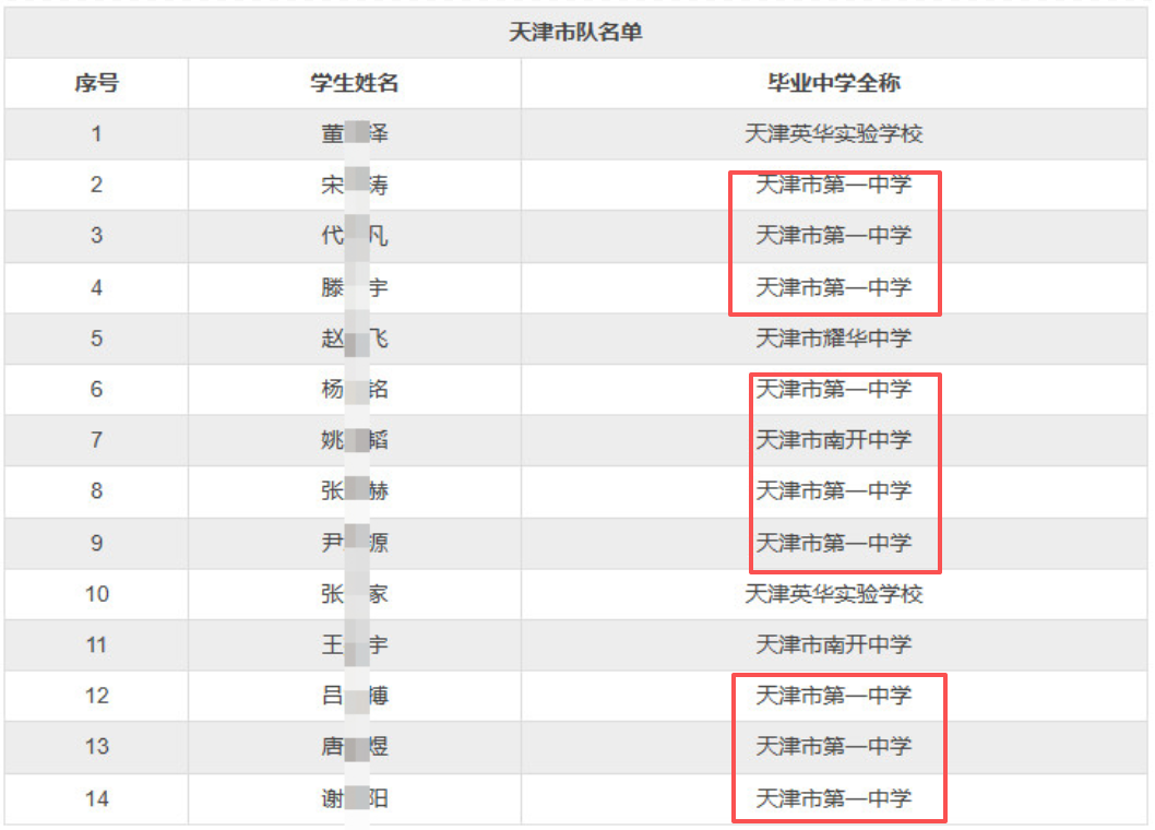
入选天津市代表队的同学

温馨提示:
竞赛学习之路,从这里起步!欢迎扫描下方二维码加入【五大学科竞赛交流群】,与优秀同行一起探索竞赛学习的无限可能。进群即可领取专属备赛资料与课程福利,早规划、早准备,抢占升学先机!让你的竞赛之路更有方向,升学选择多一份保障!
扫一扫即可进群
如果你还有其他疑问,或想了解最新招生政策、有升学规划需求、领取最新试题,可在企业微信联系人中添加妮妮老师(微信号:13311095027)好友,备注:省市-高考年份-选科,邀您进群~




























