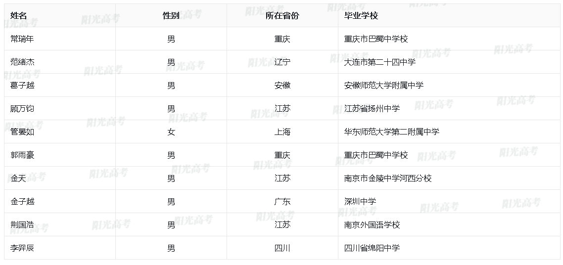
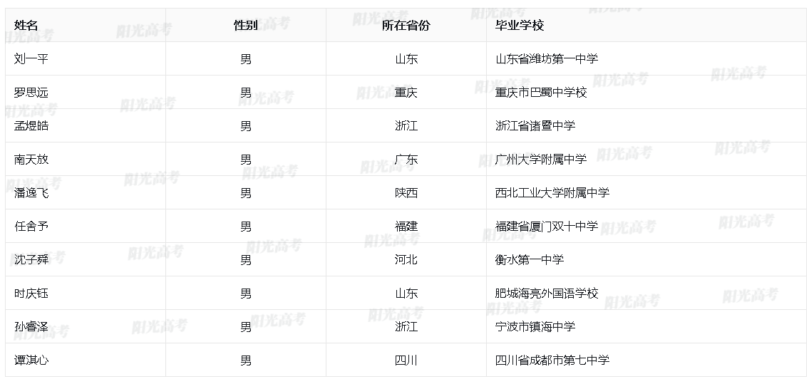
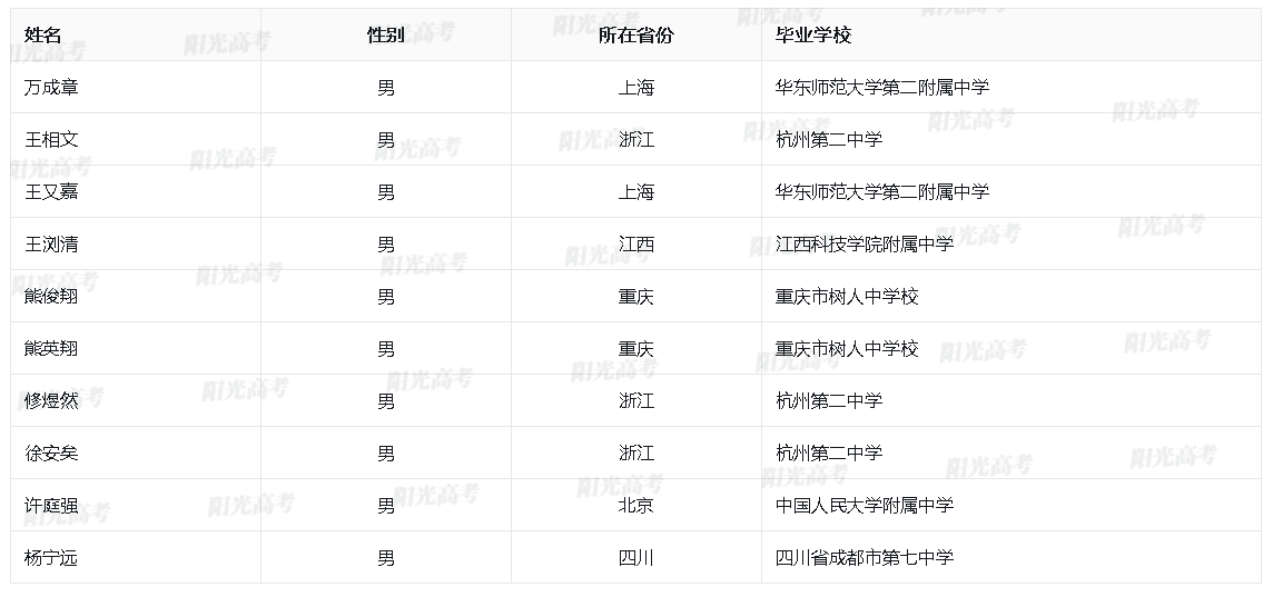
5月22日,阳光高考网公布保送生资格名单,2023年共有1917名同学免高考,期中,信息学保送资格名单包括:2023集训队35人。具体名单和自主选拔在线团队一起了解一下~
2023年国际信息学奥林匹克国家集训队名单




声明:本文信息来源于阳光高考,由自主选拔在线团队(微信公众号:zizzsw)排版编辑,如有侵权,请及时联系管理员删除。


2023-05-22 17:04|编辑: 于老师|阅读: 916
摘要
5月22日,阳光高考网公布保送生资格名单,2023年共有1917名同学免高考,期中,信息学保送资格名单包括:2023集训队35人。
5月22日,阳光高考网公布保送生资格名单,2023年共有1917名同学免高考,期中,信息学保送资格名单包括:2023集训队35人。具体名单和自主选拔在线团队一起了解一下~




声明:本文信息来源于阳光高考,由自主选拔在线团队(微信公众号:zizzsw)排版编辑,如有侵权,请及时联系管理员删除。
0
收藏
微信扫一扫分享
微信里点“发现”
扫一下二维码便可将本文分享至朋友圈
上一篇:2023年信息学竞赛决赛(2023NOI)活动安排
下一篇:2023年国际初中生信息学竞赛中国队共42名学生入选
2023年国际数学奥林匹克国家集训队名单2023-05-22
2023年国际化学奥林匹克国家集训队名单2023-05-22
2023年国际物理奥林匹克国家集训队名单2023-05-22
2023年国际生物奥林匹克国家集训队名单2023-05-22
2023年信息学决赛国家集训队获奖名单,50人保送清北2023-12-05
没有更多了
2026-2027信息学竞赛
信息学奥赛招生对象
信息学竞赛升学路径
信息学竞赛升学优势
全国中学生信息学竞赛报名入口
信息学竞赛证书下载
信息学联赛考点分析
信息学竞赛学习
信息学竞赛国家队
信息学竞赛通知
信息学书单

强基备考

综评备考

选科指导

优质试题

热门资料

竞赛经验

热门讲座

升学规划

查分数线
扫码关注,回复关键词“001”,领取福利

学科竞赛派
xuekejsp 复制