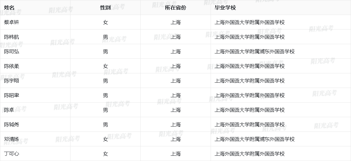
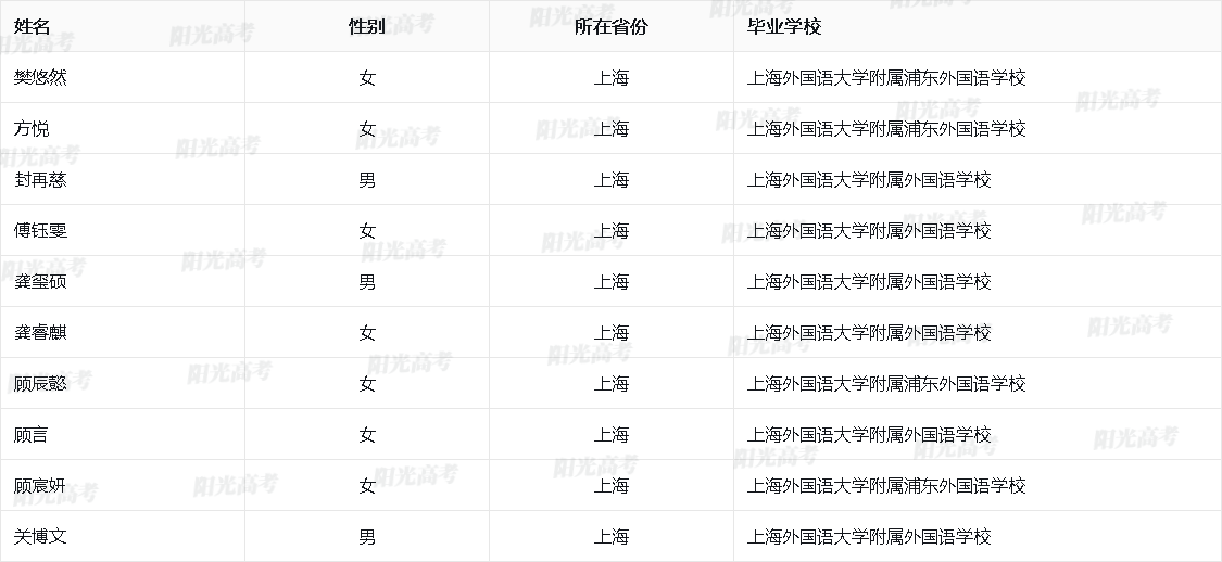
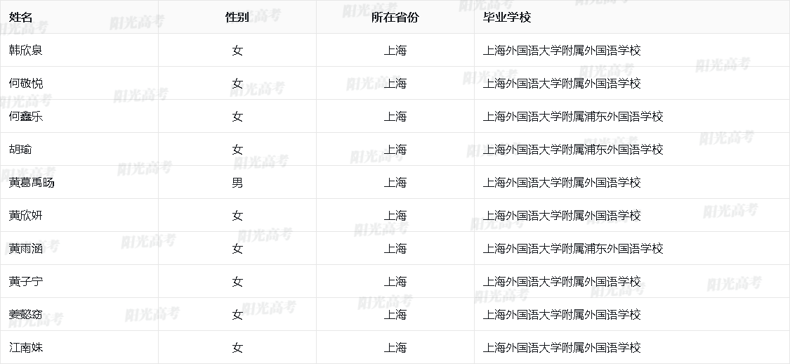
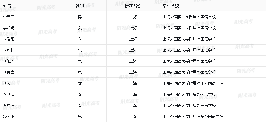
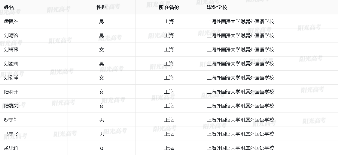
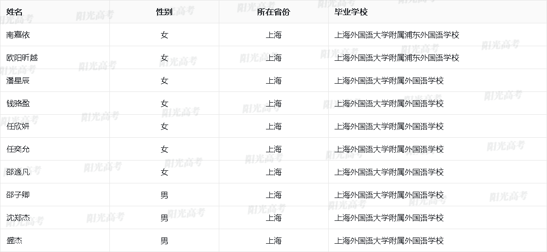
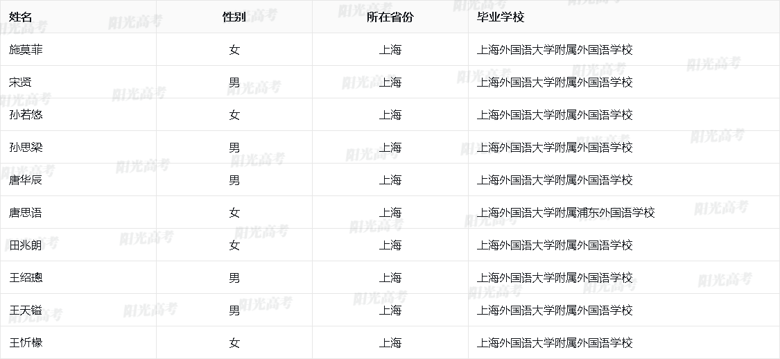
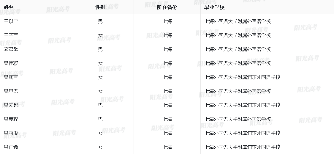
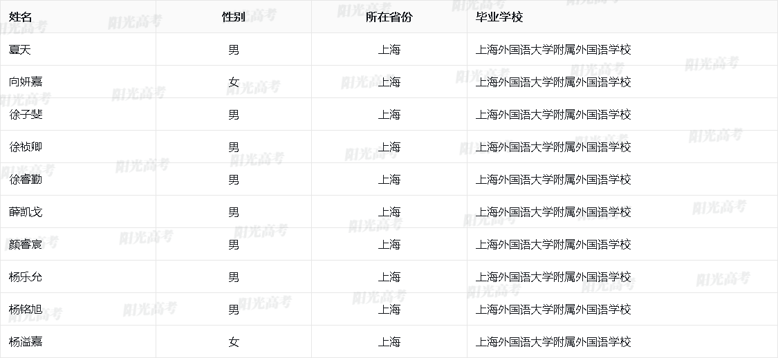
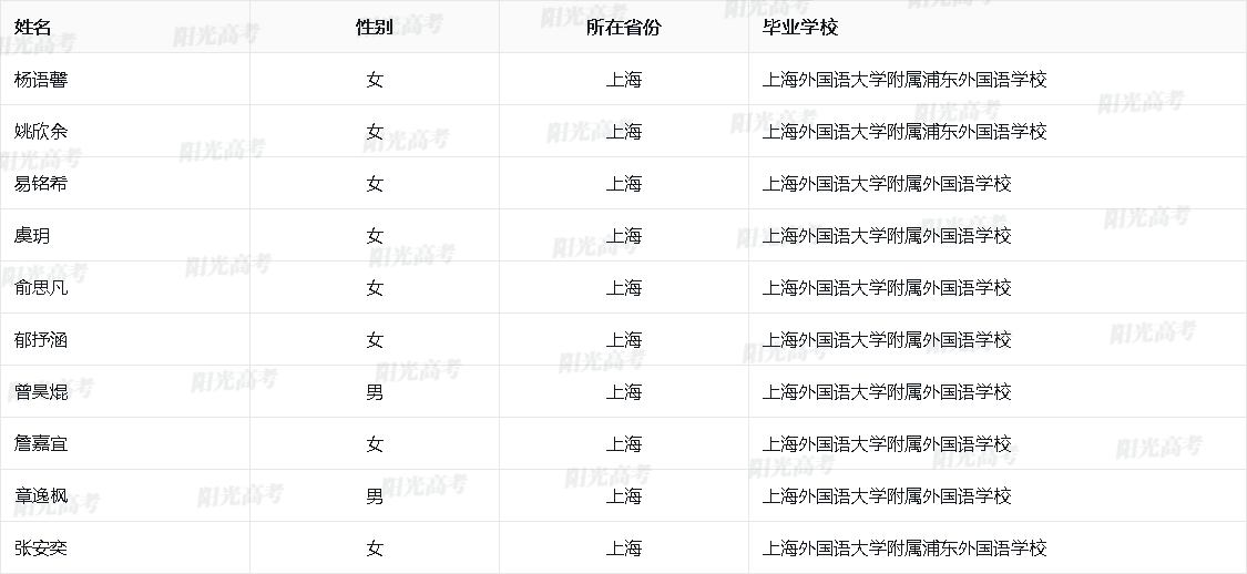
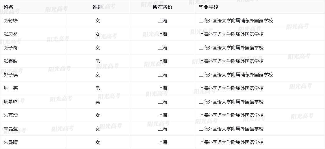
日前,阳光高考网站发布上海市2026年保送生资格名单,共118人,考生主要来自上海外国语学校附属外国语学校、上海外国语大学附属浦东外国语学校。自主选拔在线团队第一时间整理上海市2026年保送生资格名单,供考生及家长查询。
上海市2026年保送生资格名单














2026-03-17 14:44|编辑: 张老师|阅读: 35
摘要
上海市2026年保送生资格名单公布,共118名考生获得资格,保送生无需参加全国高考,直接获得顶尖高校录取资格,规避高考竞争压力,节省备考时间与精力。自主选拔在线团队整理具体名单信息,供考生查询。
日前,阳光高考网站发布上海市2026年保送生资格名单,共118人,考生主要来自上海外国语学校附属外国语学校、上海外国语大学附属浦东外国语学校。自主选拔在线团队第一时间整理上海市2026年保送生资格名单,供考生及家长查询。












声明:本文信息来源于阳光高考网站,由自主选拔在线团队(微信公众号:zizzsw)排版编辑,如有侵权,请及时联系管理员删除。
0
收藏
微信扫一扫分享
微信里点“发现”
扫一下二维码便可将本文分享至朋友圈
上一篇:吉林省2026年保送生资格名单
下一篇:江苏省2026年保送生资格名单
近两年清华大学外语类保送生测试内容2026-01-06
中山大学2026年外语类保送生招生简章2026-01-09
2026年高校学科竞赛保送政策新变化,竞赛生如何应对2026-01-20
天津市2026年保送生资格名单2026-03-17
河北省2026年保送生资格名单2026-03-17
没有更多了
2026高考加分项目
2026高考体检
2026高考作文热点素材
2026高考备考
2026高考择专业
2026高考报名要求
2026高考外语听力
2026高考报名入口
广西2026高考报名
山东2026高考报名
北京2026高考报名
江苏2026高考报名

强基备考

综评备考

选科指导

优质试题

热门资料

竞赛经验

热门讲座

升学规划

查分数线
扫码关注,回复关键词“2026”,领取升学福利

自主选拔在线
zizzsw 复制