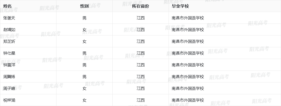
日前,阳光高考网站发布江西省2026年保送生资格名单,共88人,本次名单以南昌市外国语学校(教育部认定保送资格院校)推荐优秀学生为核心,考生均经校内严格选拔、省级审核及公示,全程接受监督,坚守公平公正原则,为后续保送录取工作筑牢基础。自主选拔在线团队第一时间整理江西省2026年保送生资格名单,供考生及家长查询。
江西省2026年保送生资格名单











2026-03-17 14:57|编辑: 张老师|阅读: 87
摘要
江西省2026年保送生资格名单公布,88人获得保送资格,全部来自南昌市外国语学校,该校作为教育部认定的具有保送资格的外国语中学,办学质量优异、特色鲜明。自主选拔在线团队整理具体名单信息,供考生查询。
日前,阳光高考网站发布江西省2026年保送生资格名单,共88人,本次名单以南昌市外国语学校(教育部认定保送资格院校)推荐优秀学生为核心,考生均经校内严格选拔、省级审核及公示,全程接受监督,坚守公平公正原则,为后续保送录取工作筑牢基础。自主选拔在线团队第一时间整理江西省2026年保送生资格名单,供考生及家长查询。









声明:本文信息来源于阳光高考网站,由自主选拔在线团队(微信公众号:zizzsw)排版编辑,如有侵权,请及时联系管理员删除。
0
收藏
微信扫一扫分享
微信里点“发现”
扫一下二维码便可将本文分享至朋友圈
上一篇:福建省2026年保送生资格名单
下一篇:山东省2026年保送生资格名单
近两年清华大学外语类保送生测试内容2026-01-06
中山大学2026年外语类保送生招生简章2026-01-09
2026年高校学科竞赛保送政策新变化,竞赛生如何应对2026-01-20
天津市2026年保送生资格名单2026-03-17
河北省2026年保送生资格名单2026-03-17
没有更多了
2026高考加分项目
2026高考体检
2026高考作文热点素材
2026高考备考
2026高考择专业
2026高考报名要求
2026高考外语听力
2026高考报名入口
广西2026高考报名
山东2026高考报名
北京2026高考报名
江苏2026高考报名

强基备考

综评备考

选科指导

优质试题

热门资料

竞赛经验

热门讲座

升学规划

查分数线
扫码关注,回复关键词“2026”,领取升学福利

自主选拔在线
zizzsw 复制