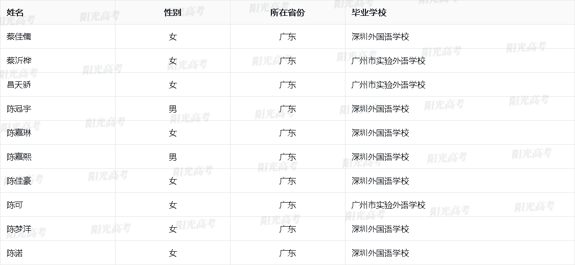
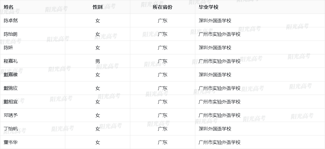
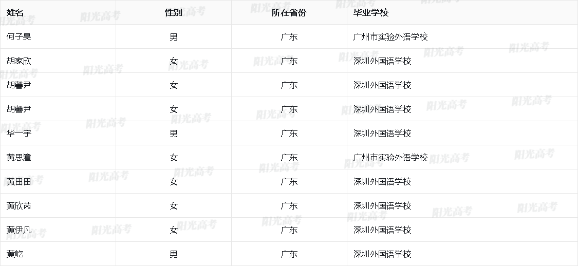
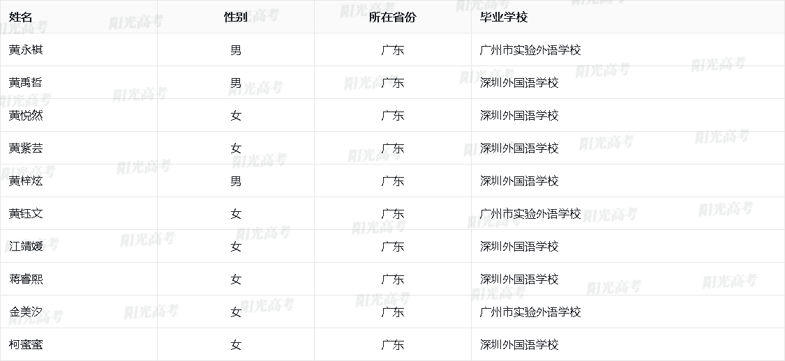
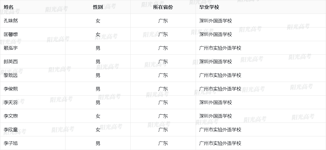
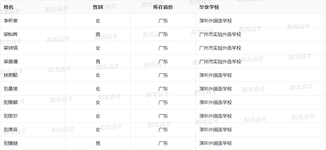
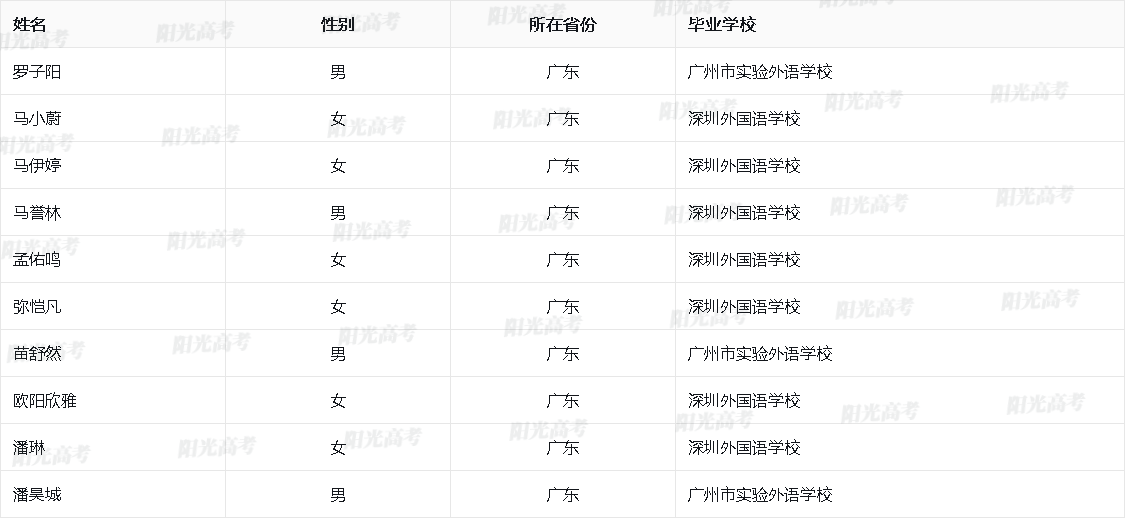
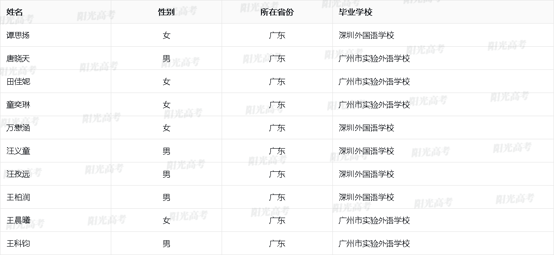
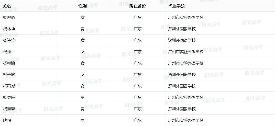
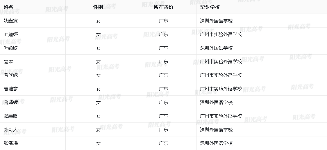
日前,阳光高考网站发布广东省2026年保送生资格名单,共183人。本次资格名单主要为深圳外国语学校、广州市实验外语学校推荐优秀学生等符合条件的考。自主选拔在线团队第一时间整理广东省2026年保送生资格名单,供考生及家长查询。
广东省2026年保送生资格名单





















2026-03-19 18:24|编辑: 张老师|阅读: 32
摘要
为严格落实教育部2026年保送生招生政策,规范广东省保送生选拔工作,保障招生公平公正,现公布广东省2026年保送生资格名单。自主选拔在线团队整理广东2026保送生具体名单信息,供考生查询。
日前,阳光高考网站发布广东省2026年保送生资格名单,共183人。本次资格名单主要为深圳外国语学校、广州市实验外语学校推荐优秀学生等符合条件的考。自主选拔在线团队第一时间整理广东省2026年保送生资格名单,供考生及家长查询。



















声明:本文信息来源于阳光高考网站,由自主选拔在线团队(微信公众号:zizzsw)排版编辑,如有侵权,请及时联系管理员删除。
0
收藏
微信扫一扫分享
微信里点“发现”
扫一下二维码便可将本文分享至朋友圈
上一篇:湖北省2026年保送生资格名单
下一篇:重庆市2026年保送生资格名单
近两年清华大学外语类保送生测试内容2026-01-06
中山大学2026年外语类保送生招生简章2026-01-09
2026年高校学科竞赛保送政策新变化,竞赛生如何应对2026-01-20
天津市2026年保送生资格名单2026-03-17
河北省2026年保送生资格名单2026-03-17
没有更多了
2026高考加分项目
2026高考体检
2026高考作文热点素材
2026高考备考
2026高考择专业
2026高考报名要求
2026高考外语听力
2026高考报名入口
广西2026高考报名
山东2026高考报名
北京2026高考报名
江苏2026高考报名

强基备考

综评备考

选科指导

优质试题

热门资料

竞赛经验

热门讲座

升学规划

查分数线
扫码关注,回复关键词“2026”,领取升学福利

自主选拔在线
zizzsw 复制